Previous, Next, Index

E22 West Germany

The German J and K's were similar to the Swedish and French versions:

  • They were de-tuned having #90 and #92.5 main jets in the middle and outside carburettors (rather than the standard #102.5 and #100).
  • The air box was also a different part number, with a longer snorkle that extended down below the rubber carburettor boot and pointed forward. In the photo to the right, the EU version is on the right and the General Export version is to the left.
  • The rear fender on both the J and K was the European style being a bit longer and flared up at the lower edge (63113-31600)
  • Specific to Germany, on the 1972J there was a large reflector (35970-18660) facing to the rear below the licence plate.
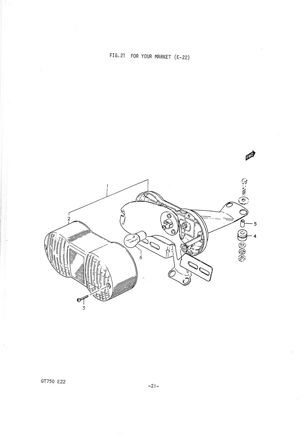
  • The horn was brought over from the T500 (38500-18410), and as was common in European specification models, a city driving bulb was added to the headlamp reflector. The left switch assembly for the J and K was specific to the German market (57700-34600).
  • The frame on the J and K was non-standard - part number 41100-31610, and so was the triple tree although two part numbers were used between the J and K. Perhaps the difference between the general export and German K model triple tree was to accommodate the introduction of disc brakes and that the brake splitter was mounted on an additional bracket (59492-31000) not included with the general export versions and which was also later used on the RE5 under the updated part number 59492-31001.

Below are copies from the German E22 specific parts list for the J and K models:

Back to Top

  • For the M, A and B models the tuning was to general export specifications
  • Metal spark plug caps were used.
  • For the M and A models, the turn signals are the same as the general export model, except there is no reflector and no hole drilled to accept one (35601-34660 and 35601-31650 for the front, and 35603-33660 and 35603-31650 for the rear respectively).
  • For the B model specifically, the smaller turn signals from the GS400 were used on the front (35601-44010), and for the rear the rear turn signals used on the 1977 GT500 were used (35603-18411).
  • The 'dog bone' style rear tail lamp was carried forward from the A series to the B, however while the same lens are used, the rear tail light assembly itself was a different series part number from the E1 - possibly due to different sizes of rear number plates.
  • The headlamps included the city driving bulb mounted in the side of the main reflector and the left handlebar had a spring loaded 'pulse' switch (57700-31610) seen in the photo to the right which was supplied by Mick Taylor..This switch was fitted to German M, A and B models.
  • Several horns were used: for the M the horn was the same one used on late T500's (38500-15641), for the A the horn was the same as used on early T500's (38500-15643), and for the B the horn was from the 1976 GT380 (38500-18411). A special bracket was used to mount the horn.
  • The M, A and B models all used the splitter bracket (59492-31001).
  • For some reason, the front and rear axle nuts for the B model are unique part numbers to Germany (09159-12004 and 09159-18002)

  • The front fender for the A model is specific to Germany (53100-31630) as is the front fender used on the B (53110-45630), although superficially they both resemble the general export model parts.
  • The rear fender was the European style without the rear facing reflector (63113-31601 and for the B model 63003-31700)

Below are copies from the German E22 specific parts list for the M through B models:

Back to Top

Previous, Next